重组,停牌!提前大涨

来源: 中国基金报 作者:闻言

  【导读】慈星股份拟获武汉敏声控股权,停牌前股价大涨

  1月14日晚间,慈星股份300307)公告称,公司拟以发行股份及支付现金方式购买武汉敏声新技术有限公司(以下简称武汉敏声)控股权,并募集配套资金。

  记者注意到,慈星股份在2021年底官宣入股武汉敏声,如今意图掌控武汉敏声,将成为A股公司以重组方式跨界芯片产业新案例。

  公开资料显示,慈星股份主要从事针织机械业务,而武汉敏声以射频滤波器为拳头产品,同时覆盖压电式麦克风和压电超声传感器芯片。

  慈星股份计划自1月15日开市起停牌。1月14日晚间,慈星股份发布股价异动公告称,1月13日、1月14日,公司连续两个交易日的收盘价涨幅偏离值累计达32.64%,属于股票交易异常波动的情况。

  截至1月14日收盘,慈星股份股价报9.88元/股,涨幅达15.29%,总市值为78.47亿元。截至2024年9月30日,慈星股份的股东人数为3.896万户。

  慈星股份拟入主武汉敏声

  持股比例或超64%

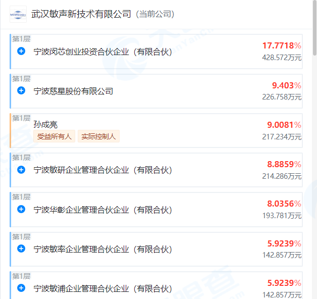
  公告显示,慈星股份与武汉敏声股东孙成亮、宁波敏研企业管理合伙企业(有限合伙)、宁波华彰企业管理合伙企业(有限合伙)、宁波敏率企业管理合伙企业(有限合伙)、宁波敏浦企业管理合伙企业(有限合伙)、宁波闵芯创业投资合伙企业(有限合伙)签署意向性协议,初步达成购买资产意向。

  慈星股份公告称,公司此次交易的交易对方,包含上述签订意向性协议的全部或部分武汉敏声股东。

  天眼查显示,孙成亮是武汉敏声的实控人。估算可得,上述签署意向性协议的武汉敏声股东,合计持有武汉敏声55.5492%的股份比例。

  同时,慈星股份在2021年、2022年相继参与了武汉敏声A轮、B轮融资。天眼查显示,慈星股份当前持有武汉敏声9.403%的股份比例。

  慈星股份若完成上述交易,将合计持有武汉敏声64.9522%的股份比例,成为后者的控股股东。

  慈星股份公告称,公司预计在2月6日前披露本次交易方案。若公司未能在该期限内召开董事会审议并披露交易方案,最晚将于2月6日开市起复牌,并终止筹划相关事项。

  武汉大学孵化潜在独角兽企业

  赶上射频滤波器国产化浪潮

  官网显示,武汉敏声是由武汉大学工业科学研究院教授孙成亮联合14名国际知名业内专家共同创立。

  公开资料显示,孙成亮任职于武汉大学工业科学研究院,获得后者启动资金支持,专注于射频滤波器等方面的课题研发。在射频滤波器国产化条件成熟后,武汉敏声正式成立,武大资管以相关专利作价入股。

  慈星股份公告显示,武汉敏声成立于2019年1月29日,注册资本约为2411.53万元,法定代表人为孙成亮,经营范围包含集成电路芯片设计及服务,集成电路芯片及产品的制造、销售等。

  武汉大学官网显示,孙成亮的无线电FBAR射频滤波器项目拥有多项专利技术,涵盖结构设计、工艺制程、电子封装、单片集成等方面,建立了多维度多角度的专利壁垒,不可替代性高,项目经济效益和社会效益可观,在2019年湖北省第二届“工友杯”职工创业创新大赛中摘得“十佳创业奖”。

  目前,武汉敏声已经完成C轮融资,合计融资金额近10亿元,估值近30亿元,知名股东包括中国互联网投资基金、长江产业集团、建信投资、国铁建信、国投长江、建发基金、湖北高质量基金等。

  2024年8月底,湖北省科技厅公布的2024年科创“新物种”企业名单中,武汉敏声被列为“潜在独角兽”。此前,该公司获得武汉市上市金种子、光谷瞪羚企业等称号。

  武汉敏声能够获得众多知名投资机构青睐,与其赶上了射频滤波器国产化浪潮有关。

  武汉敏声以射频滤波器为拳头产品,后者主要用于智能手机、平板电脑、无线路由器等具有无线通信功能的电子设备中。一部5G手机平均要用70多颗射频滤波器,多的要用到百余颗。

  中国是射频滤波器的需求大国,但此前市场基本被美国和日本企业占据。IDC数据显示,2015年中国手机端射频滤波器市场规模达28.5亿美元,预计2024年达56.7亿美元。

  此前投资武汉敏声收关注函

  慈星股份探寻新的业务增长点

  慈星股份与武汉敏声的联系,可追溯至2021年12月。彼时,慈星股份公告称,公司拟以自有资金2亿元认购武汉敏声新增注册资本。增资完成后,公司持有武汉敏声12.50%的股权。

  当时,深交所下发关注函,要求慈星股份结合武汉敏声的主要产品、主要财务数据、实际经营情况,以及慈星股份的主营业务,补充说明慈星股份认购武汉敏声新增注册资本的原因及必要性。

  慈星股份回复关注函称,公司希望通过上述投资在滤波器与射频前端等产业开拓投资视野,也将为公司布局新的MEMS(微机电系统)器件应用打下良好基础。

  慈星股份是国内首批电脑横机研制企业,主要产品是智能针织机械设备。该公司在回复上述关注函时提到,电脑针织机械市场的传统机型保有量较大,新机型更新需要一定时间,市场周期性比较明显,公司同步考虑探索培育新的业务增长点。

  2024年前三季度,慈星股份的营业收入为17.84亿元,同比增长3.74%;扣非后净利润为1.29亿元,同比增长54.58%。

  慈星股份在2024年半年报中提到,报告期内,横机行业保持增长态势,主要增长点为存量电脑横机设备的更新换代。

  制作:小茉

关注同花顺财经(ths518),获取更多机会

0

+1
  • 黑芝麻
  • 欧菲光
  • 君正集团
  • 晶方科技
  • 有研新材
  • 英洛华
  • 供销大集
  • 天汽模
  • 代码|股票名称 最新 涨跌幅