华勤技术(603296)股份有限公司(以下简称“华勤技术(603296)”)近日向港交所主板递交上市申请,联席保荐人为中金公司(HK3908)和B of A SECURITIES。
华勤技术(603296)是全球智能硬件平台型企业。2025年全年,公司实现营业收入1714.37亿元,年内利润41.32亿元。值得关注的是,近年来,公司毛利率呈下降趋势。
此次赴港IPO,华勤技术(603296)拟募资用于研发投入、扩大及优化制造体系等。
消费电子ODM龙头 2025年营利双增
华勤技术(603296)是全球智能硬件平台型企业,智能产品集人工智能(885728)、物联网(885312)、大数据及通信技术等核心技术为一体且融合多项智能功能。
根据灼识咨询数据,华勤技术(603296)是全栈智能产品ODM平台,在多个智能产品品类实现了全球第一。按2024年全球消费电子(881124)ODM出货量计算,华勤技术(603296)是2024年全球最大的消费电子(881124)ODM厂商,市场份额为22.5%。
图1:华勤技术近年来财务数据
华勤技术(603296)近年来业绩持续增长。2023年至2024年,公司营业收入分别为853.38亿元、1098.78亿元,年内利润分别实现26.57亿元、29.16亿元。2025年全年,公司营利同比双增,分别实现营业收入1714.37亿元、年内利润41.32亿元。公司在年报中表示,2025年公司业务不断拓展,各产品出货规模大幅增加。
近年来毛利率下滑
从业务结构来看,2025年公司移动终端业务贡献收入802.1亿元,占比46.8%,仍是第一大收入来源;计算及数据中心业务紧随其后,营收占比达到44%。
图2:华勤技术近年来毛利率
值得关注的是,公司毛利率近年来呈下滑趋势。根据招股书,公司毛利率从2023年的10.9%降至2024年的9%,2025年下降至7.7%。其中,2025年公司移动终端业务、计算及数据业务毛利率同比分别减少0.7个百分点、及1.5个百分点。
此外,受业务规模扩大、原材料采购支付的现金增加影响,2025年,公司经营活动产生的现金流量净额为-2.23亿元,同比下降116.23%。
拟募资用于研发投入等
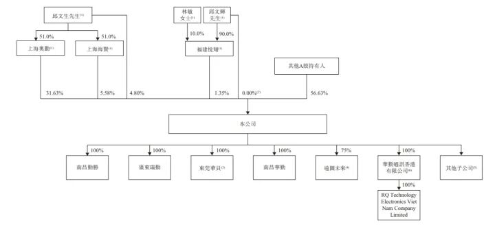
截至最后实际可行日期,邱文生、上海奥勤、上海海贤、邱文辉、林敏及福建悦翔合计拥有公司约43.37%的表决权,为公司控股股东集团。
图3:华勤技术股权结构
根据招股书披露,此次赴港IPO,华勤技术(603296)拟募集资金用于以产品为核心的研发投入,增强技术实力、扩大及优化制造体系、战略投资与垂直整合、营运资金及一般公司用途。
